真实项目深度体验:从规划到复盘的全周期自动化管理,AI表格能不能完成得更好?
当项目管理遇上AI,重点便从“如何管理”转向了“如何自动化的智能协同”。借由一次完整的项目实战,我们体验了钉钉AI表格如何将规划、分配、跟踪与复盘整合为一条自动化的数字流水线,让管理者的角色从监工变为向导,真正驱动项目的自我推进。

在数字化浪潮席卷办公领域的今天,项目管理似乎成了那个我们始终在攻克却又始终被其困扰的核心难题。你是否也熟悉这样的场景:同时奔波于多个项目之间,从纷繁的需求收集、复杂的任务分配,到焦头烂额的进度跟踪和最后略显仓促的复盘总结?传统的工作方式迫使我们在不同的工具和应用间频繁切换,大量宝贵的时间与精力,最终耗散在低效且重复的机械操作中。
直到我遇见了钉钉AI表格,并深度体验了它的各项智能能力,这一僵局才被彻底打破。下面我将通过一个真实的项目案例,带你看看如何用一张“活”起来的智能表格,优雅地串联起项目的整个生命周期。
第一幕:智能启动——一句口令,创建一张会思考的项目表
团队近期启动了“客户管理系统优化”项目。在过去,启动这类项目意味着我不得不花费约30分钟手动创建项目计划表——反复填写任务名称、负责人、截止日期、状态等基础字段,最终也仅能搭建出一个结构僵硬、功能单一的模板。
而这次,借助钉钉AI表格,一切变得截然不同。我仅对“AI表格助理”输入了一句指令:“创建一个客户管理系统优化项目计划表,包含任务名称、负责人、优先级、计划开始时间、计划结束时间、实际完成时间、状态标记和风险标识字段,并设置为智能表格”。
指令发送完毕,一张结构清晰完整的项目计划表便呈现在眼前。它不仅精准涵盖了我所要求的全部字段,更引入了多项贴合项目管理实际场景的智能功能。让我惊喜的是,系统自动适配了专业视图与样式模板,将原本动辄半小时的手动配置工作,压缩为了“一键完成”的极致体验。

第二幕:任务拆解——从目标到清单,宏观规划秒变可执行任务
如何将宏观目标分解为具体可执行的任务是项目的最大挑战。传统做法需要召开多次会议讨论任务分解,耗时且容易遗漏重要环节。
我尝试使用钉钉AI表格的“智能生成”功能,输入我们的项目目标并选择生成任务拆解。
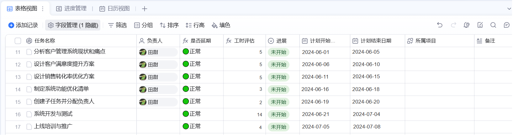
AI在几秒钟内就生成了一份详细的任务清单,包括:
- 分析客户管理系统现状和痛点(预计耗时:5天)
- 设计客户满意度提升方案(预计耗时:5天)
- 设计销售转化率优化方案(预计耗时:5天)
- 制定系统功能优化清单(预计耗时:3天)
- 创建子任务并分配责任人(预计耗时:2天)
- 系统开发与测试(预计耗时:14天)
- 上线培训与推广(预计耗时:4天)

但钉钉AI表格并未止步于此,它进一步将每个主任务智能拆解为可执行的子任务,并提供了科学的工时预估。我仅需对其进行微调确认,短短几分钟便完成了以往需要多次会议讨论才能定稿的任务分解工作。
第三幕:智能监工——进度自动同步,风险提前预警
当项目进入执行跟踪阶段,钉钉AI表格的自动化能力展现出其真正价值。它不再是一张静态表格,而是一个能够自主工作的智能项目协作者。
我设置了三条核心自动化规则,构建起项目的智能监控系统:
1.截止日期提醒:当任务截止日期前2天且状态未完成时,自动发送钉钉通知给负责人;
2.状态同步机制:当任务状态标记为完成时,自动填写实际完成时间并通知上下游任务负责人;
3.风险预警:当任务延期超过3天,自动标记为高风险并通知项目经理。

让我眼前一亮的是,钉钉AI表格与钉钉待办、日历及项目协作功能实现了深度无缝融合。只需在表格中轻点指派,任务便会自动同步至相关成员的待办列表,截止日期、负责人、具体要求一目了然,真正实现了“一处录入,处处同步”的智能闭环。
第四幕:进度汇报——30秒生成专业级项目进度报告
以往汇报我需要在不同平台间手动收集数据、核对信息,再耗费2-3小时将其整合成PPT或文档,过程繁琐且容易出错。
钉钉AI表格的“AI生成图表”功能让我的汇报工作迎来一场改革,我只需要简单选择时间区间和任务范围,下一秒,一份详实、多维度的可视化报告便自动生成。

它并非简单的数据堆砌,而是一个融合了关键指标、趋势分析与可行性建议的智能诊断中心。
我终于能从繁琐的数据搬运中解脱出来,真正回归到项目管理的本质——思考、决策和创造。
钉钉AI表格的三大核心优势,如何重新定义智能协作
钉钉AI表格的价值远超工具层面,它正重新定义着项目管理的本质——从被动响应到主动规划,从经验驱动到数据智能。
自然语言交互,操作极简
无需复杂公式或技术背景,通过简单描述即可完成表格创建、数据分析和自动化设置。这让非技术背景的团队成员也能轻松使用高级功能。
全流程自动化,智能驱动
从任务创建、分配、跟踪到汇报,AI可自动完成完整流程,减少大量手动操作,确保信息同步实时准确,实现了工作流的智能闭环管理。
生态深度融合,打破工具孤岛
与钉钉待办、日历、审批、文档等功能深度打通,避免了多工具切换和数据不一致问题,真正实现了一个平台的全面协同。
结语:迈向“以人为本”的智能工作新哲学
钉钉AI表格不仅仅是一个表格工具,更是项目管理的智能中枢。它通过AI能力将项目管理的各个环节有机连接,形成了完整的工作流闭环,推动着从“人找事”到“事找人”的转变。
随着AI技术的不断发展,工具正在从被动执行向主动辅助演进。钉钉AI表格展现的正是这样一个未来:AI不再是冷冰冰的工具,而是懂业务、会思考的智能协作者,帮助我们释放创造力,聚焦真正有价值的工作。
本文由 @Tttttttt 原创发布于人人都是产品经理。未经作者许可,禁止转载
题图来自Unsplash,基于CC0协议
- 目前还没评论,等你发挥!

起点课堂会员权益




