统一权限管理系统的原型与方案设计
为平衡企业数据安全与员工工作效率,中大型企业需通过集中化、标准化的权限控制,构建安全、高效、合规的资源访问管理体系,既保障数据安全,又提升协作效率,满足合规要求,因此需要一套统一权限管理系统进行统筹管控。

一、产品目标
实现安全与效率的动态平衡,包含如下方面:
数据安全:通过统一权限管理,实现对敏感数据(如财务报表、客户信息)的精细化访问控制,避免数据泄露或越权操作。
工作效率:简化权限申请、审批流程,减少员工因权限不足导致的工作中断,提升跨部门协作效率。
二、应用场景说明
1. 公司组织说明
公司组织架构通常包含总公司、分公司、部门等层级。总公司下可设立多个分公司,分公司下又可设置多个部门。各层级(公司/部门)的用户均需访问公司级数据资源以开展日常工作。组织人员架构如图所示:

3-1 国内组织人员结构图
举例说明:
集团总部(总公司)为核心管理单元,下设全国贸易和全国物流公司两大一级分公司。
一级分公司可进一步设立区域分公司(如华北贸易、华南贸易等)。
所有公司(总部/分公司)均可根据业务需求创建部门(如采购部、销售部、仓储部),并将员工按部门主管(如采购主管)和部门员工(如采购员)两类角色分配至对应部门。
示例:华北贸易公司采购部由主管张三带领,下属员工李四、王五为采购员。
接下来则会基于公司组织进行权限管控的业务场景说明。
2. 公司管控说明
公司管控一般是针对企业员工的数据资源管控以及工作范畴的管控。
1)数据资源管控:核心资料的安全隔离
针对企业敏感数据(如报价单、合同、采购成本、员工薪资等),通过权限规则实现 “按需授权、最小可用”:
- 纵向隔离:例如销售人员仅能查看自身客户的报价单,无法访问其他客户的销售报价情况;同时普通员工除了自己的薪资以外,无法查看其他同事的薪资明细。
- 横向隔离:不同部门(如销售部与采购部)的数据默认相互不可见,需通过特殊申请流程 才能跨部门共享数据资源(如销售主管因项目需要查看采购的真实成本)。
2)工作范畴管控:职责边界的明确划分
基于岗位角色定义 “能做什么、不能做什么”,避免越权操作:
例如销售主管拥有“审批报价单”的权限,而普通销售人员仅能“提交报价单”,无法执行审批动作。
三、产品方案设计
公司的组织及资源管控一般会有专人进行管理,俗称管理员。工作主要职责是负责公司的部门及人员维护,并为人员分配对应的功能及数据权限。
1. 角色用户说明
角色用户说明:基于部门员工的工作职责,可以进行角色区分,以下图为例说明:

4-1 角色用户结构图
华北贸易公司下面的销售部门有三个员工,其中张伟是销售主任,王红以及张亮为销售员。
角色定义与权限分层:
销售部门含销售主任(张伟)和销售员(王红、张亮)两个核心角色,角色对应不同工作范围,功能权限存在差异:
- 销售主任:默认继承销售员的全部权限,同时拥有角色专属的拓展权限(如团队任务分配、报价审批等);
- 销售员:拥有基础销售功能权限(如销售报价、订单录入等)。
特殊权限配置:
部分员工在通用角色权限外,需配置特殊功能权限:例如王红除销售员权限外,额外具备主数据管控权限(如客户信息维护、数据标准化管理)。
数据权限精准分配:
销售部门管理3个客户数据资源, 王红仅能查看客户A的全量业务信息(含报价、需求量、仓库数据等),张亮仅能查看客户B、客户C的业务信息。
2. 功能权限说明
功能权限说明:功能权限对应员工的工作范畴,需根据实际工作需求分配——即基于员工的日常工作职责,授予其完成任务必需的功能权限,确保权限与工作场景匹配。
功能权限流程图如下:

4-2 功能权限流程图
权限申请流程说明:
- 发起申请:需权限的员工提交权限申请工单;
- 部门审批:员工所属部门主管进行一级审批;
- 合规审核:审批通过后,流转至合规管控中心完成二级审批;
- 权限分配:合规审批通过后,由管理员执行功能权限分配;
- 结果通知:分配完成后,系统自动通知工单发起人。
补充说明:流程中涉及的审批角色(如部门主管、合规管控中心)为示例,实际执行时可根据公司组织架构灵活调整对应审批角色。
3. 数据权限说明
数据权限说明:数据权限对应公司数据资源,需遵循“最小够用”原则配置——即根据用户实际业务需求,授予其完成工作必需的最小数据权限,确保权限与职责匹配。
数据权限流程图如下:

4-3 数据权限流程图
数据权限分配规则:
- 权限层级:数据权限基于总公司→分公司→部门逐级递减,部门主管默认拥有本部门全量数据权限;
- 部门内申请:部门员工发起数据权限申请时,由部门主管直接审批并分配对应权限;
- 跨部门申请:若申请涉及本部门外数据,工单自动流转至合规管控部门审核;
权限下放:合规审核通过后,管理员仅能将权限分配至对应公司/部门,再由部门主管将权限细化分配给员工。
四、产品功能说明
基于上述的业务场景,开始为企业管理员进行产品设计,以公司合规要求为基础,通过系统化产品建模,简化管理员操作流程,提升工作效率。同时,嵌入智能预警消息提醒功能,确保关键工单任务及时处理,避免遗漏。

5-1 产品功能结构图
本平台聚焦管理员核心工作场景,提供六大核心能力,助力高效管理与决策:
1、智能工单工作台
实时呈现待办消息、审批通过未处理工单及超时预警,帮助管理员快速定位优先级任务,避免延误。
2、企业组织管理
支持公司、部门的新增、修改、调整等操作,灵活适配组织架构变化,提升管理效率。
3、角色与用户管理
提供角色与用户的全生命周期管理(新增、编辑、权限分配等),确保人员权责清晰,简化管理流程。
4、精细化权限管理
支持为用户、角色分配功能权限与数据权限,实现权限的精准管控,保障数据安全与合规。
5、系统设置中心
提供个人信息维护、密码管理、消息通知配置等基础功能,满足管理员个性化操作需求。
6、数据统计分析
通过监控大屏可视化呈现申诉单请求、工单处理进度及告警信息,助力管理员直观掌握业务动态,辅助决策。
五、产品原型介绍
基于上述产品功能说明,进行产品原型层面的介绍,按照产品功能形成对应的产品页面路线图。

6-1 产品原型页面流转图
1. 工作台
工作台是系统管理员的核心功能页面,需要集中展示工作待办、消息提醒和预警三类核心信息。系统基于精细化数据权限管控,支持为每个管理员分配对应负责的公司/部门工单范围,可确保当有新工单发起时,管理员能第一时间获取提醒、聚焦处理权责范围内的工作,如下图所示:

6-2 工作台原型图
工作台整体分为以下三个功能模块,如下:
1)工作管理区
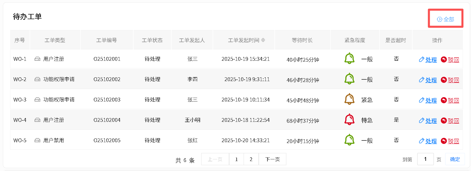
展示当前管理员权责范围内的待办工单数据,支持管理员直接在此处理各类待办工单。点击「全部」按钮或工单统计图标后,可查看当前账号下所有历史工单与在途工单数据。

6-3 工作台-待办工单原型图

6-4 工作台-工单管理原型图
针对待办工单,支持直接点击「处理」跳转至对应工单处理页,也可执行驳回操作。
2)数据统计模块
基于当前用户的工作维度,可视化呈现工单整体处理情况。通过趋势图与饼状图,支持查询指定时间范围内不同工单类型的占比分布,以及工单总量的变化趋势。

6-5 工作台-工单统计分析原型图
3)系统通知模块
针对工单发起、工单逾期等关键节点,通过消息推送提醒对应管理员及时处理;用户可点击「全部」查看全量系统通知,点击单条通知即可查看对应消息明细。同时支持管理员自定义消息设置,可根据自身关注的消息类型,单独开启或关闭对应通知。

6-5 工作台-系统通知原型图1

6-6 工作台-系统通知原型图2

6-6 工作台-消息通知原型图3
2. 企业组织管理
企业组织管理功能菜单主要提供公司及部门的主数据维护的能力。
1)企业组织拓扑图介绍:
通过可视化企业组织拓扑图,直观呈现全公司整体组织结构与各部门核心信息,管理员可直接在公司层级下,快速完成对应部门的新建、删除等维护操作。

6-7 企业管理-组织拓扑原型图

6-8 企业管理-组织拓扑-部门新增原型图
2)组织管理
在组织管理页面可完成全层级公司的查询与维护,支持管理员新增一级公司,也可在现有公司主体下快速创建子公司信息,灵活适配企业组织扩张需求。

6-9 企业管理-组织管理原型图

6-10 企业管理-组织新增原型图
3)部门管理
需先完成对应公司信息创建,即可在目标公司主体下新增并维护各级部门信息,层级关系清晰,操作流程简便。

3. 角色用户管理
管理员可在企业主体下完成角色与用户信息的创建与维护,功能说明如下:。
1)角色管理
系统支持父子层级的角色架构设计,核心规则为:父角色自动继承所有关联子角色的功能权限,可灵活适配企业多层级权限管控需求。

6-12 角色管理原型图
2)用户管理
所有新建用户必须关联至对应公司或部门,完成归属信息绑定:
管理员点击「新增用户」,即可在页面中维护用户基础信息,并同步完成用户与对应角色的权限关联,一次操作完成信息配置。

6-12 用户管理原型图

6-13 用户新增原型图
4. 权限管理
权限管理体系分为功能权限与数据权限两大核心模块:功能权限管控产品内各功能项的操作访问范围,数据权限则管控公司级客商等核心业务数据的可见范围。
1)功能权限分配说明
功能权限支持基于角色或用户两种维度完成分配:
针对角色维度分配时,除遵循「父角色自动继承所有关联子角色的功能权限」规则外,支持为父角色单独配置额外的专属功能权限,满足灵活的权限叠加需求。

6-14 功能权限分配原型图
2)数据权限分配说明
数据权限采用分级授权模式,由管理员完成一级分配后向下逐级下放:
首先由管理员基于公司维度,为父角色用户分配对应范围的数据权限;获得授权的父角色用户,可将自身已分配的数据权限,向下再分配给关联子角色,适配多级组织的分层管控需求。

6-15 数据权限分配原型图
5. 统计分析
通过可视化监控大屏,集中呈现全地域工单分布态势,同时同步展示告警信息与工单处理趋势,核心运营数据一目了然。

6-16 工单可视化大平台原型图
本文由 @四眼猪 原创发布于人人都是产品经理。未经作者许可,禁止转载
题图来自Unsplash,基于CC0协议

起点课堂会员权益





配套的原型演示地址:https://www.axureshop.com/a/2338522.html
感兴趣的伙伴可以访问网站,点击在线演示进行查询。